 |
|
青州恒日金屬制品有限公司
電話:0536-2133230
傳真:0536-2137228
Email:master@hansing.com.cn
地址:青州市經濟開發區東京路1809號
網址:m.bjzhenxin.cn
郵編:262500
|
|
|
|
|
|
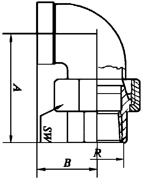
| 錐面內牙彎頭由任 UNIONS.ELBOWS.CON.F/F |


|
R |
1/4 |
3/8 |
1/2 |
3/4 |
|
A |
41 |
45 |
50 |
57 |
|
B |
19 |
23 |
27 |
32 |
|
SW |
29 |
34 |
39 |
47 |
|
R |
1 |
11/4 |
11/2 |
2 |
|
A |
66.5 |
75 |
83 |
93 |
|
B |
37 |
42 |
48 |
56 |
|
SW |
58 |
67 |
77 |
90 | |
|
|